致力于模拟可靠性环境检测仪器和力学、光学、电池、老化、汽车、电子精密仪器设备的研发、生产、销售及服务的专业生产商

中科精测科技(广东)有限公司

可靠性检测仪器设备完整供应商

咨询手机 : 139-2683-1486 曾先生
咨询手机 : 139-2553-6982 曾先生
产品中心

产品中心

联系我们

    中科精测科技(广东)有限公司
    曾先生:13926831486
    曾先生:13925536982
    官网:www.ctptgd.com
    公司地址:珠海市香洲区华威路 77号蔬菜物流区D区5楼
    工厂地址:东莞市塘厦镇莲湖东源三路2号
里氏硬度计
里氏硬度计
型号:

里氏硬度计WAY-180G使用全中文显示,菜单式操作,操作简单、方便。本机可直接显示里氏、布氏等硬度值。高亮度LED背光方便在光线灰暗环境使用,自动休眠、自动关机等节电功能、低功耗设计。锂电供应,适合现场野外作业。仪器小巧、口袋式掌中宝里氏硬度计,方便携带,测试精度高。

0

主要功能 

● 依据里氏硬度测量原理,开机即显示里氏测值界面。

● 菜单式操作,信息丰富、直观。

● 高亮度LED背光方便在光线灰暗环境使用。

● 自动休眠、自动关机等节电功能,低功耗设计。

● 锂电池充电,可持续工作10小时。


适用材料 

钢和铸钢、合金工具钢、不锈钢、灰铸铁、球墨铸铁、铸铝合金、铜锌合金(黄铜)、铜锡合金(青铜)、纯铜、 锻钢。


主要用途 

1、测量大、厚、重及表面粗糙的铸锻件;

2、退火、回火、淬火等热处理的硬度检测,硬化层的厚度太薄;

3、铸锻件检测时,如果表现光洁度处理有难度。

规格参数

项目

WAY-180G

主要测试功能

测量大、厚、重及表面粗糙的铸锻件

测量范围

150-960HLD)、47.7-99.9HRB)、90-646HB

测量方向

360°

硬度制式

HLHBHRB

存储功能

600

电源

锂电池充电3.7v/300mA

外型尺寸

45×255×45mm

重量

130g

标准配置

主机G型冲击装置一体化、支撑环,标准布氏块、尼龙刷、充电器

选配

标准试块、通讯软件


测试范围

材料

硬度制

冲击装置

D/DC

D+15

C

G

DL

Steel and cast steel
 
钢和铸钢

HRC

17.968.5

19.367.9

20.069.5

20.668.2

HRB

59.699.6

47.799.9

37.099.9

HRA

59.185.8

HB

127651

80638

80683

90646

81646

HV

83976

80937

80996

80950

HS

32.299.5

33.399.3

31.8102.1

30.696.8

Steel锻钢

HB

142651

CWTST
 
合金工具钢

HRC

20.467.1

19.868.2

20.768.2

HV

80898

80935

100941

Stainless steel
 
不锈钢

HRB

46.5101.7

HB

85655

HV

85802

GC. IRON
 
灰铸铁

HRC

HB

93334

92326

HV

NCIRON
 
球墨铸铁

HRC

HB

131387

127364

HV

CALUM
 
铸铝合金

HB

19164

23210

32168

HRB

23.884.6

22.785.0

23.885.5

BRASS
 
铜锌合金

HB

40173

HRB

13.595.3

BRONZE铜锡()合金

HB

60290

COPPER纯铜

HB

45315

注:使用里氏硬度计测量时需被测工件适合相应的测试条件,主要是三方面的要求:工件重量不小于2KG,小的厚度不小于10mm,表面粗糙度不大于1.6um,在不适合上述条件时需要稳固支撑或密实耦合!


 冲击装置

冲击装置

DC/D/DL/DS

D+15

C

G(标配)

冲击能量

11mj

11mj

2.7mj

90mj

冲击体质量

5.5/5.5/7.2/5.5 g

7.8 g

3.0 g

20 g

球头硬度

1600 HV

1600 HV

1600 HV

1600 HV

球头直径

3 mm

3 mm

3 mm

5 mm

球头材料

碳化钨

碳化钨

碳化钨

碳化钨

冲击装置直径

20/20/6/20 mm

20 mm

20 mm

30 mm

冲击装置长度

86/147/202/138 mm

162 mm

141 mm

254 mm

冲击装置重量

50/75/60/70 g

80 g

75 g

250 g

试件硬度上限

940/940/950/940 HV

940 HV

1000 HV

650 HB

试件表面平均度Ra

1.6 µm

1.6 µm

0.4 µm

6.3 µm

冲击装置适用范围

DC型测量内孔或圆柱筒内;
  DL
型测量细长窄槽或孔;
  D
型用于常规测量;
  DS
型测量流水线在线检测(加载释放一次完成)

D+15型接触面细小,加长,适宜测量沟槽或凹入的表面。

C型冲击力小,对被测表面损伤很小,不破坏硬化层,适合测量小轻薄部件及表面硬化层。

G型测量大厚重及表面较粗糙的铸锻件。


 示值误差和示值重复性

序号

冲击装置类型

标准里氏硬度块硬度值

示值误差

示值重复性

1

G

590±40HLG
  500
±40HLG

±12 HLG

12 HLG

 
里氏硬度计符合标准

1GB/T 17394.1-2014《金属材料 里氏硬度试验 第1部分:试验方法》

2GB/T 17394.2-2012《金属材料 里氏硬度试验 第2部分:硬度计的检验与校准》

3GB/T 17394.3-2012《金属材料 里氏硬度试验 第4部分:标准硬度块的标定》

4GB/T 17394.4-2014《金属材料 里氏硬度试验 第4部分:标准值换算表》

5、设计依据标准:《里氏硬度计技术条件》 JB/T 9378-2001


被测试样表面的要求 

试样表面的状况应符合测试范围表格中的有关要求。

● 试样表面温度不能过高,应小于120℃。

● 试样表面粗糙度不能过大,否则会引起测量误差。试样的被测表面露出金属光泽,并且平整、光滑、不得有油污。

● 试样重量的要求:对大于5kg的重型试样,不需要支撑;重量再2-5kg的试件、有悬伸部分的试件及薄壁试件在测试时应用物体支撑,以避免冲击力引起试件变形、变曲和移动。对中型试样,置于平坦、坚固的平面上,试样平稳放置,不得有晃动。

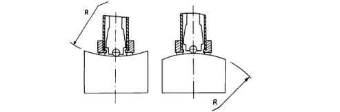
● 曲面试样:试样的试验面是平面。当被测表面曲率半径R小于30mm(D、DC、C、DL型冲击装置)和小于50mm(G型冲击装置)的试样在测试时应使用小支承环或异型支承环。

● 试样应有相应的厚度,试样小厚度应符合冲击装置表规定。

● 对于具有表面硬化层的试样,硬化层深度应符合冲击装置表规定。

● 耦合
image.png

1)对轻型试样,需要与坚固的支承体紧密耦合,两耦合表面需要平整、光滑、耦合剂用量不要太多,测试方向需要垂直于耦合平面;

2)当试样为大面积板材、长杆、弯曲件时,即使重量、厚度较大仍可能引起试件变形和失稳,导致测试值不准,故应在测试点的背面稳固固或支承。

● 试样本身磁性应小于30高斯


测量方法 
● 按动冲击装置上部的释放按钮,进行测试。此时要求试样、冲击装置、操作者均稳定,并且作用力方向应通过冲击装置轴线。

● 试样的每个测量部位一般进行五次试验。数据分散不应越过平均值的±15HL。

● 任意两压痕之间距离或任一压痕中间距试样边缘距离应符合下表规定。

● 对于特定材料,欲将里氏硬度值较准确地换算为其他硬度值,需要作比较试验以得到相应换算关系。方法是:用检定合格的里氏硬度计和相应的硬度计分别在同一试样上进行试验。对于硬度值,在三个以上需要换算的硬度压痕周围均匀分布地各测定5点里氏硬度,用里氏硬度平均值和相应硬度平均值分别作为对应值,作出硬度比较曲线,比较曲线至少应包括三组对应的数据。

冲击装置类型

两压痕中间间距

mm

压痕点距试样边缘距离

mm

D

3

5

 
故障分析与排除

故障现象

原因分析

排除方法

不开机

电量耗尽

及时电池

测值不准

冲击装置球头磨损

更换球头

测值偏差

校准值失效

重新校准


保养和维修 
1.  
冲击装置

在使用1000—2000次后,要用尼龙刷清理冲击装置的导管及冲击体,清洁导管时先将支承环旋下,再将冲击体取出,将尼龙刷以逆时针方向旋入管内,到底后拉出,如此反复5次,再将冲击体及支承环装上;

使用完毕后,应将冲击体释放;

冲击装置内严禁使用润滑剂。

2.   正常维修程序

当用标准洛氏硬度块进行检定时,误差均大于2HRC时,可能是球头磨损失效,应考虑更换球头或冲击体。

当硬度计出现其它不正常现象时,请用户不要拆卸或调节固定装配之零部件,填妥保修卡后,交由我公司维修部门,执行保修条例。


索取样品和信息

在线
客服

在线客服服务时间:9:00-24:00

客服
热线

13925536982
服务热线

客服
热线

13926831486
服务热线

添加
微信

添加微信
顶部